
2021年12月28日,据中国商标网披露消息,瑞幸咖啡(中国)有限公司申请的“歪歪滴艾斯”商标注册成功。
去年5月,瑞幸咖啡(中国)有限公司就向国家商标局递交了“YYDS歪歪滴艾斯”商标注册申请,申请注册号为56235322,国际分类为43类,国际分类为广告销售、方便食品。

据悉,就在瑞幸咖啡申请成功当天,北京浅草君藏文化传播有限公司申请的“歪歪滴艾斯”商标也注册成功,国际分类为健身器材。
有业内人士分析,瑞幸咖啡凭借YYDS申请注册成功,进一步塑造了自身年轻化品牌的形象。

随着新一代消费群体崛起,与年轻消费者紧密相连的网络热词具有传播范围广、速度快的特点,因此有许多人看到了隐藏中的商机,就成了商家扎堆抢注的对象。
如去年热度较高的“奶茶自由”已被申请注册商标,国际分类为食品,申请人为山东一投资公司,当前商标状态为等待实质审查。


此外,“车厘子自由”、“坚果自由”也被多家公司申请注册商标,国际分类涉及食品、啤酒饮料等,申请人包括汉口二厂汽水关联公司武汉恒润拾运营管理有限公司、良品铺子股份有限公司等,当前商标状态多为商标申请中。

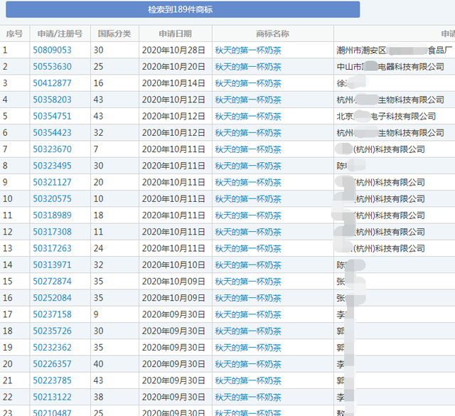
而去年被申请注册最多与茶饮相关的网红热词应该算“秋天的第一杯奶茶”,共有189件“秋天的第一杯奶茶”商标,最晚的申请日期为2020年10月28日,概括了第10、11、24、25、29、30、32、35、43等多个商标类别。其中,以奶为主的奶茶是属于第29类,而非奶为主的奶茶则属于第32类。
部分上规模企业会为特定营销方案专门注册商标,如伊利曾为了跨年营销,特意申请了“牛YEAR”、“嗨皮牛夜”等商标。

还有一些看似无厘头的热词,其实也具有增强品牌传播度,做大无形资产的作用。如被多家企业批量注册的“沙雕”商标,这反映了国内的知识产权意识正在逐渐增强,品牌对IP的重视度也与日俱增。
另一类则是防御性抢注为了保护自己的IP,如海底捞就一口气注册了“池底捞”、“还想捞”、“明底捞”、“海底捡”、“湖底捞”、“洋里捞”、“琼底捞”等上百个商标。以防此前关联商标被抢注而维权失败的案例再次发生。
·







